Logo Passei Direto
Buscar
Material
páginas com resultados encontrados.
páginas com resultados encontrados.
left-side-bubbles-backgroundright-side-bubbles-background

Crie sua conta grátis para liberar esse material. 🤩

Já tem uma conta?

Ao continuar, você aceita os Termos de Uso e Política de Privacidade

Prévia do material em texto

Dimensões em metros
1,
50
m
ín
.
0,80
mín.
0,60
mín.
0,30
mín.
1,
20
m
ín
.
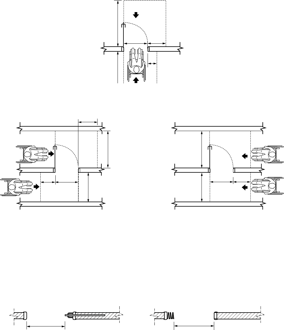
Figura 81 – Deslocamento frontal
Dimensões em metros
1,
50
m
ín
.
1,
50
m
ín
.
0,80
mín.
0,80
mín.
0,90
mín.
0,60
mín.
0,60
mín.
1,
20
m
ín
.
1,
20
m
ín
.
Figura 82 – Deslocamento lateral
6.11.2.4 As portas, quando abertas, devem ter um vão livre, de no mínimo 0,80 m de largura e 2,10 m 
de altura. Em portas de duas ou mais folhas, pelo menos uma delas deve ter o vão livre de 0,80 m. 
As portas de elevadores devem atender ao estabelecido na ABNT NM NBR 313. 
O vão livre de 0,80 m deve ser garantido também no caso de portas de correr e sanfonada, onde 
as maçanetas impedem seu recolhimento total, conforme Figura 83. Quando instaladas em locais 
de prática esportiva, as portas devem ter vão livre mínimo de 1,00 m.
Dimensões em metros
0,80 0,80
a) Porta de correr – Vista superior b) Porta sanfonada – Vista superior
a) Porta de correr – Vista superior b) Porta sanfonada – Vista superior
Figura 83 – Vãos de portas de correr e sanfonada
6.11.2.5 O mecanismo de acionamento das portas deve requerer força humana direta igual ou inferior 
a 36 N. 
70
ABNT NBR 9050:2015
© ABNT 2015 - Todos os direitos reservados

Mais conteúdos dessa disciplina