Logo Passei Direto
Buscar
Material
páginas com resultados encontrados.
páginas com resultados encontrados.

Prévia do material em texto

SOLUTIONSMANUAL TO ACCOMPANY ATKINS' PHYSICAL CHEMISTRY 325
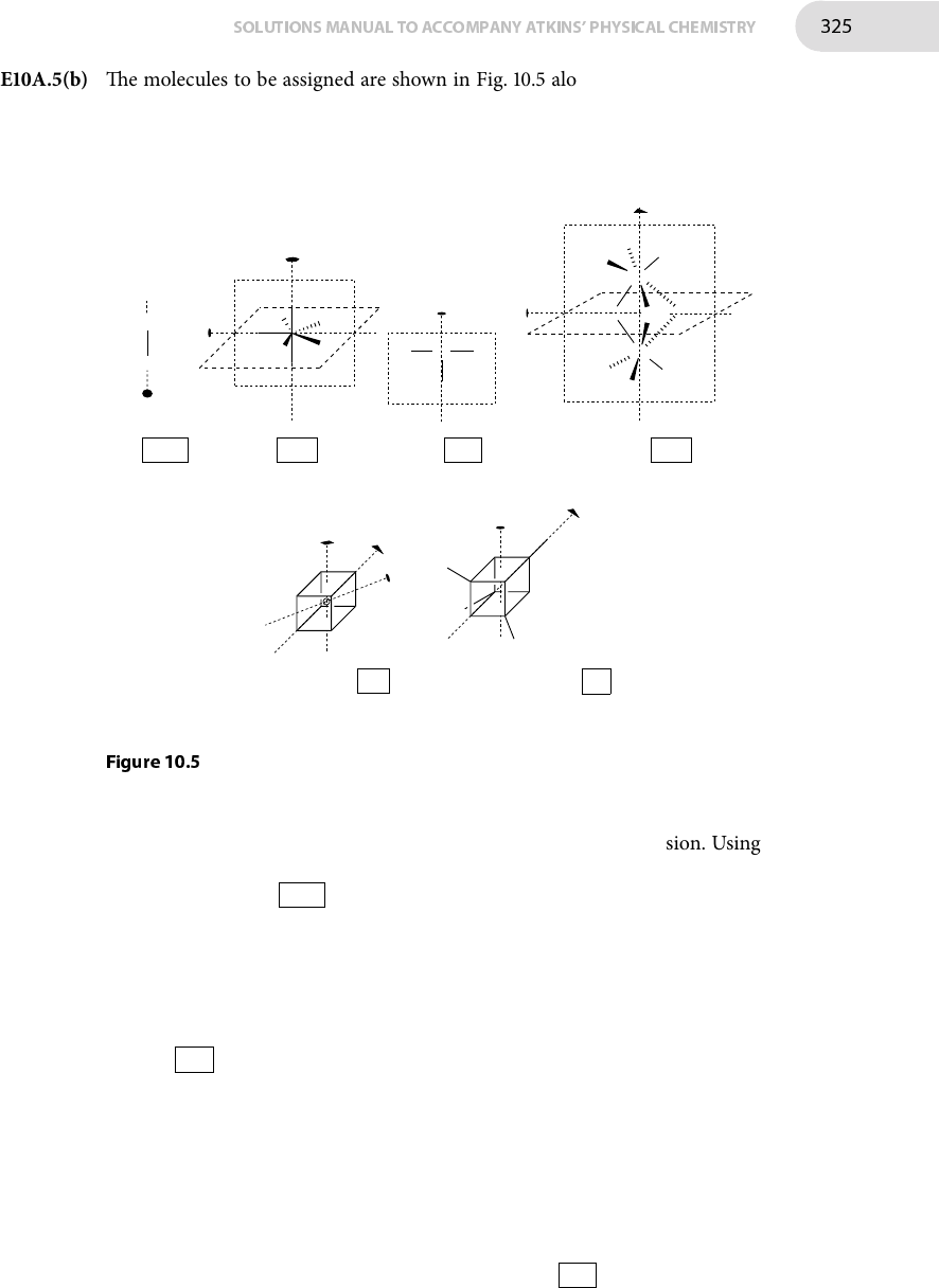
E10A.5(b) �e molecules to be assigned are shown in Fig. 10.5 along with some of their
symmetry elements. For clarity not all symmetry elements are shown in all
cases.
H
F
C∞
C2
σh
FF
F
F F
F
F
C5,S5
σv
Cl
F
FF
C2
σv
Fe
OC
OC
COCO
CO
Fe
OC
OC
CO
OC
C3,S3
C2
σv
σh
HF C∞v IF7 D5h ClF3 C2v Fe2(CO)9 D3h
C4,S4
C3,S6
C2
i
C2,S4
C3
F
F
F
F
cubane Oh tetra�uorocubane Td
Figure 10.5
(i) HF is a linear molecule and does not possess a centre of inversion. Using
the �owchart in Fig. 10A.7 on page 391 this is su�cient to establish the
point group as C∞v .
(ii) IF7 possesses a C5 axis that passes through the iodine and the two axial
�uorine atoms, and �ve C2 axes perpendicular to the C5 axis, each of
which passes through the iodine and one of the �ve equatorial �uorine
atoms. It also has a σh mirror plane containing the iodine and all �ve
equatorial �uorines.�ese symmetry elements establish the point group
as C5h .�e molecule also has �ve σv mirror planes each containing the
iodine, the two axial �uorines and one of the equatorial �uorines, and an
S5 axis coincident with the C5 axis.
(iii) �eT-shapedmoleculeClF3 has aC2 axis that passes through the chlorine
and the �uorine at the base of the T. It also has two σv mirror planes
containing this axis; one of these corresponds to the plane of themolecule
and contains all four atoms while the other is perpendicular to it and
just contains the chlorine and the �uorine at the base of the T. �ese
symmetry elements establish the point group as C2v .

Mais conteúdos dessa disciplina