Logo Passei Direto
Buscar

ATIVIDADE PÓS AULA - PLANOS E EIXOS

Ferramentas de estudo

Questões resolvidas

Material
páginas com resultados encontrados.
páginas com resultados encontrados.
left-side-bubbles-backgroundright-side-bubbles-background

Crie sua conta grátis para liberar esse material. 🤩

Já tem uma conta?

Ao continuar, você aceita os Termos de Uso e Política de Privacidade

left-side-bubbles-backgroundright-side-bubbles-background

Crie sua conta grátis para liberar esse material. 🤩

Já tem uma conta?

Ao continuar, você aceita os Termos de Uso e Política de Privacidade

Questões resolvidas

Prévia do material em texto

Atividade Pós-Aula 2 (Planos e Eixos) (Valor 2,0 pontos) 
 
 
 
 
1- A respeito dos planos e eixos dos animais domésticos é correto afirmar que: 
 
 
A) O plano mediano divide o corpo em duas porções: dorsal e ventral. 
 
B) Os paquímeros são resultado do plano vertical/transversal, são classificados em 
paquímeros cranial e caudal. 
 
C) Os termos axial e abaxial são aplicados a estruturas pertencentes aos membros. 
 
D) O plano horizontal ou também chamado de longitudinal divide o corpo em: direito e 
esquerdo. 
 
 
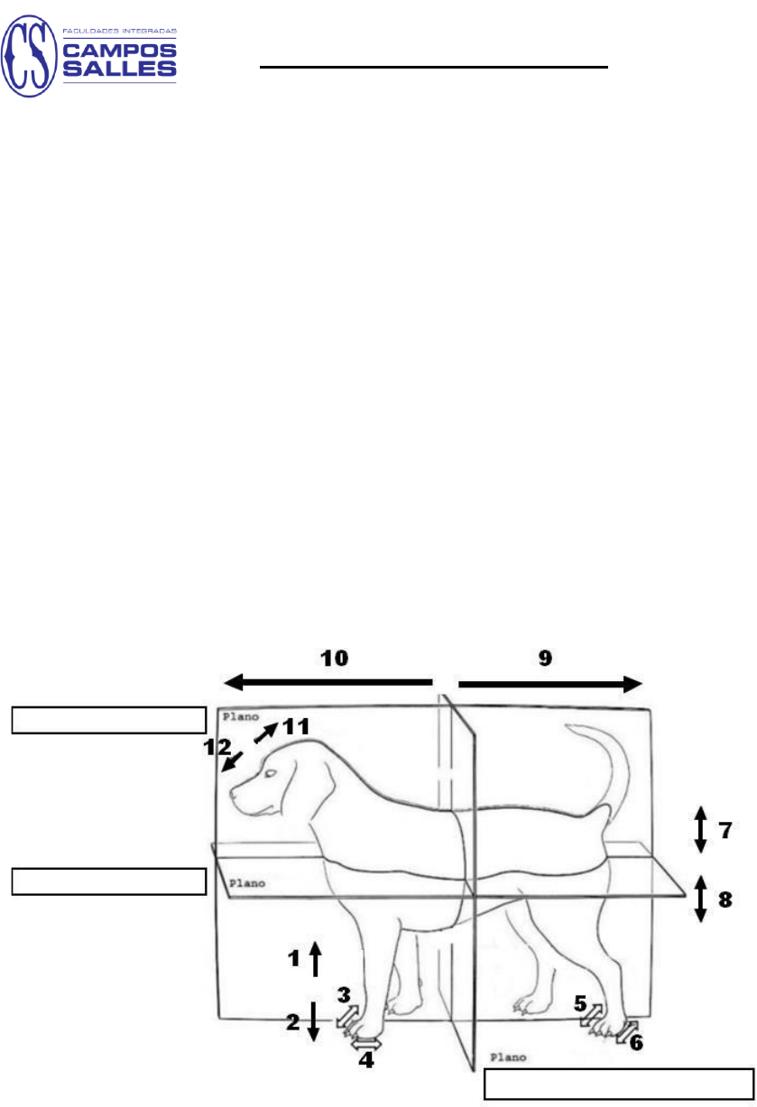
2- Denomine os planos de secção (retângulos) e, a seguir, identifique os termos de 
posição indicados na figura pelas setas e números. 
 
 
 
M 
3. Assinale a alternativa verdadeira em cada uma das questões abaixo: 
 
3.1 Quais são os dois eixos que juntos formam o plano transversal/vertical? 
a) Craniocaudal e latero-lateral. 
b) Dorsoventral e latero-lateral. 
c) Craniocaudal e dorsoventral. 
 
3.2 Quais são os dois eixos que juntos formam o plano horizontal/frontal/longitudinal? 
a) Craniocaudal e latero-lateral. 
b) Dorsoventral e latero-lateral. 
c) Craniocaudal e dorsoventral. 
 
3.3. Quais são os dois eixos que juntos formam o plano mediano/sagital mediano? 
a) Craniocaudal e latero-lateral. 
b) Dorsoventral e latero-lateral. 
c) Craniocaudal e dorsoventral. 
 
 
 
4. Uma égua Quarto de Milha foi atendida apresentando claudicação do membro torácico 
direito. Durante o exame físico, notou-se aumento de volume na região palmar do boleto, dor a 
palpação da região dos ossos sesamoides proximais medial, e piora da dor na flexão passiva do 
boleto. Observe às imagens quanto ao procedimento do raio x (à esquerda) e a radiografia (à 
direita): 
 
 
a) Qual a projeção utilizada para se realizar a radiografia? 
 
 
 
b) O círculo azul representa o local da fratura óssea responsável pelo quadro clínico do 
animal. Descreva a localização desta lesão.

Mais conteúdos dessa disciplina