Logo Passei Direto
Buscar
Material
páginas com resultados encontrados.
páginas com resultados encontrados.
left-side-bubbles-backgroundright-side-bubbles-background

Crie sua conta grátis para liberar esse material. 🤩

Já tem uma conta?

Ao continuar, você aceita os Termos de Uso e Política de Privacidade

left-side-bubbles-backgroundright-side-bubbles-background

Crie sua conta grátis para liberar esse material. 🤩

Já tem uma conta?

Ao continuar, você aceita os Termos de Uso e Política de Privacidade

left-side-bubbles-backgroundright-side-bubbles-background

Crie sua conta grátis para liberar esse material. 🤩

Já tem uma conta?

Ao continuar, você aceita os Termos de Uso e Política de Privacidade

Prévia do material em texto

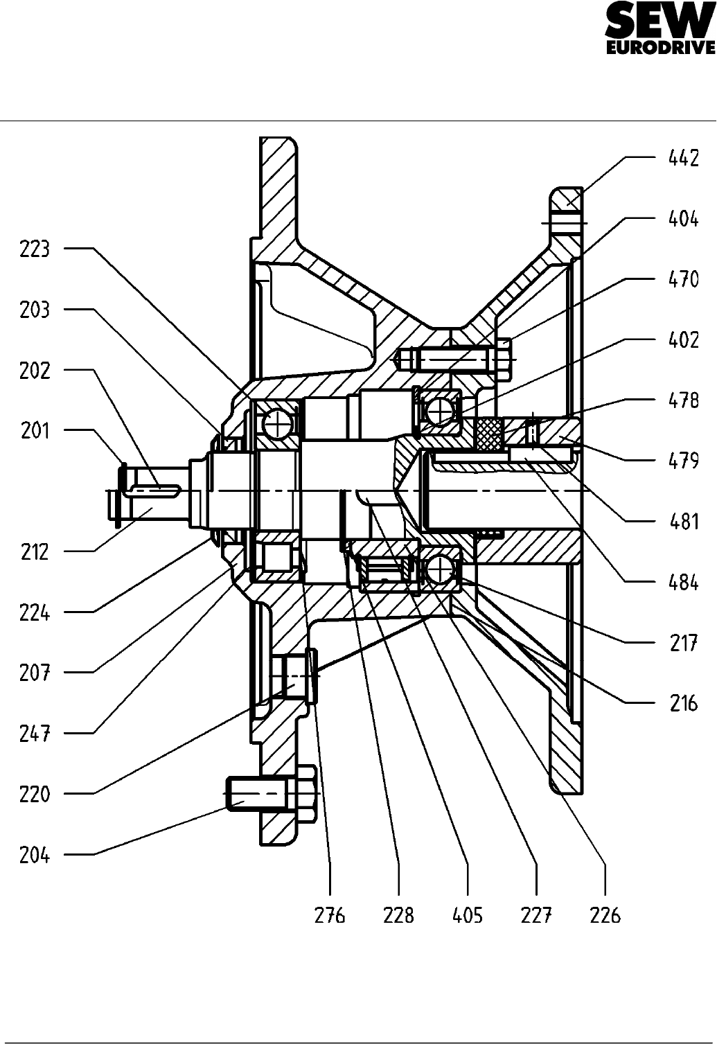
<p>Pecas de Reposicao 23 264 10 00</p><p>adaptador PT Pág. 1 / 3</p><p>AM132S/M, AM132ML EG 23.01.2014</p><p>anti-retorno para montagem de motores IEC acoplamento tipo garra</p><p>Quando encomendar peças sobressalentes indicar sempre os dados da chapa de características, o número de série e a respectiva referência!</p><p>Reservâmo-nos todos os direitos sobre estes dados técnicos. Todos os direitos reservados conforme DIN ISO 16016.</p><p>SEW-EURODRIVE GmbH & Co KG Postfach 3023. D-76642 Bruchsal Tel. (07251) 75-0. Fax (07251) 75-1970. http://www.sew.de</p><p>Pecas de Reposicao 23 264 10 00</p><p>adaptador PT Pág. 2 / 3</p><p>AM132S/M, AM132ML EG 23.01.2014</p><p>anti-retorno para montagem de motores IEC acoplamento tipo garra</p><p>Quando encomendar peças sobressalentes indicar sempre os dados da chapa de características, o número de série e a respectiva referência!</p><p>Reservâmo-nos todos os direitos sobre estes dados técnicos. Todos os direitos reservados conforme DIN ISO 16016.</p><p>SEW-EURODRIVE GmbH & Co KG Postfach 3023. D-76642 Bruchsal Tel. (07251) 75-0. Fax (07251) 75-1970. http://www.sew.de</p><p>Nº Denominção Especificações adicionais Designação SEW Código Pç.</p><p>201 Anel de retenção saliência do pinhão Ø22 DIN471 22x1,2-FS 00102725 1</p><p>201 Anel de retenção saliência do pinhão Ø28 DIN471 28x1,5-FS 00102768 1</p><p>202 Chaveta saliência do pinhão Ø22 DIN6885-1 A5x5x25 +C 00100080 1</p><p>202 Chaveta saliência do pinhão Ø28 DIN6885-1 A6x6x28 +C 00100145 1</p><p>203 Retentor W A38x52x7-NBR 00121053 1</p><p>203 Retentor Retentor opcional em óleo FKM; versão</p><p>ATEX conforme a categoria II2GD</p><p>W A38x52x7-FKM 00175366 1</p><p>204 Parafuso sextavado para flange Ø200 ISO4017 M10x25-8.8-A2F 00101168 4</p><p>204 Parafuso sextavado para flange Ø250-Ø300 ISO4017 M12x30-8.8-A2F 00101222 4</p><p>204 Parafuso sextavado para flange Ø350 ISO4017 M16x35-8.8-A2F 00110299 4</p><p>204 Parafuso sextavado para flange Ø400 ISO4017 M16x40-8.8-A2F 00101273 8</p><p>204 Parafuso sextavado para flange Ø450 ISO4017 M16x45-8.8-A2F 00110248 8</p><p>204 Perno roscado para flange Ø160 DIN939 M8x25-8.8-A2F 13303481 4</p><p>204 Perno roscado montagem nos W47 DIN835 M8x25-8.8-A2F 13229397 4</p><p>206 Porca sextavada para flange Ø160 ISO4032 M8-8-St-A2F 00101990 4</p><p>207 Flange Ø160mm 01657852 1</p><p>207 Flange Ø200mm 01650440 1</p><p>207 Flange Ø250mm 01650467 1</p><p>207 Flange Ø300mm 01650483 1</p><p>207 Flange Ø350mm 01650505 1</p><p>207 Flange Ø400mm 01651145 1</p><p>207 Flange Ø450mm 01651161 1</p><p>212 Veio do adaptador AM132S/M saliência do pinhão Ø22 01657143 1</p><p>212 Veio do adaptador AM132ML saliência do pinhão Ø28 ( não</p><p>para Ø160)</p><p>01657151 1</p><p>212 Veio do adaptador AM132S/M anti-retorno; saliência do pinhão</p><p>Ø22</p><p>01657399 1</p><p>212 Veio do adaptador AM132ML anti-retorno; saliência do pinhão</p><p>Ø28 ( não para Ø160)</p><p>01657402 1</p><p>216 Massa vedante 09102558 X)</p><p>217 Rolamento de esferas 6211-2Z-K01 00105023 1</p><p>217 Rolamento de esferas versão ATEX conforme a categoria II2GD 6211-2Z-K24 13224042 1</p><p>220 Bujão para flange Ø160 W4085 B-M10x1-St-ADC3K- 0011426X 1</p><p>220 Válvula de purga para flange Ø160 W4087 M10x1-CuZn-HEI 00130303 1</p><p>220 Bujão para flange Ø200-Ø250 W4085 B-M12x1,5-St- 00114308 1</p><p>220 Válvula de purga para flange Ø200-Ø250 W4087 M12x1,5-CuZn-HEI 00130311 1</p><p>220 Bujão para flange Ø300-Ø400 W4085 B-M22x1,5-St- 00114316 1</p><p>220 Válvula de purga para flange Ø300-Ø400 W4087 M22x1,5-CuZn-HEI 0013032X 1</p><p>220 Bujão para flange Ø450 W4085 B-M33x2-St-ADC3K- 00114324 1</p><p>220 Válvula de purga para flange Ø450 W4087 M33x2-CuZn-HEI 00130338 1</p><p>223 Rolamento de esferas 6308-Z 00105252 1</p><p>223 Rolamento de rolos ciíndricos anti-retorno NJ308E 00171166 1</p><p>224 Deflector W4291 38-A2F 00116599 1</p><p>226 Anti-retorno W4943 RSAD90-48 01653709 1</p><p>227 Chaveta anti-retorno DIN6885-3 A14x6x28 +C 00135372 1</p><p>228 Anel de retenção anti-retorno DIN471 48x1,75-FS 00102881 1</p><p>247 Anel equalizador anti-retorno W4253 79x89x0,5 00138150 1</p><p>276 Arruela de vedação anti-retorno W4585 6308-AV-OV 19086326 1</p><p>402 Anel de retenção DIN471 55x2-FS 00102911 1</p><p>404 Anel de retenção DIN472 100x3-FS 00103276 1</p><p>405 Espaçador anti-retorno DIN988 S48x60x3-FS 00120170 1</p><p>442 Flange do adaptador 01651323 1</p><p>470 Parafuso sextavado ISO4017 M12x40-8.8-A2F 00101249 4</p><p>478 Anel de came 01657321 1</p><p>479 Semi-Acoplamento Ø38 01657240 1</p><p>481 Pino roscado ISO4027 M6x8-45H 00104590 1</p><p>X) conforme a necessidade</p><p>Pecas de Reposicao 23 264 10 00</p><p>adaptador PT Pág. 3 / 3</p><p>AM132S/M, AM132ML EG 23.01.2014</p><p>anti-retorno para montagem de motores IEC acoplamento tipo garra</p><p>Quando encomendar peças sobressalentes indicar sempre os dados da chapa de características, o número de série e a respectiva referência!</p><p>Reservâmo-nos todos os direitos sobre estes dados técnicos. Todos os direitos reservados conforme DIN ISO 16016.</p><p>SEW-EURODRIVE GmbH & Co KG Postfach 3023. D-76642 Bruchsal Tel. (07251) 75-0. Fax (07251) 75-1970. http://www.sew.de</p><p>Nº Denominção Especificações adicionais Designação SEW Código Pç.</p><p>484 Chaveta DIN6885-1 B10x8x28 55HRC 00116319 1</p>

Mais conteúdos dessa disciplina